
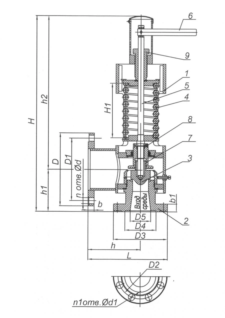
Spring Safety Valve T-31MS-1 for Automatic Pressure Release Applications
Manufacturer:
TKZ LLC
Price:
Request Quote
Bulk pricing available
FOB, CIF & EXW terms available
Description
Safety spring valves with damper are designed for automatic release of excess medium into the atmosphere when the set pressure is exceeded.
Specifications
Weight
48 kg
Material
Steel 20
Climatic version
UHL3
Operating medium
vapor
Nominal diameter
SBVVBG mm
Working pressure
3.5...4.5 MPa
Maximum temperature
425...350 °C
Name
Safety valve T-31MS-1
Assignment
Designed for automatic release of excess medium into the atmosphere when the set pressure is exceeded.
Pressure rating
6.3 MPa
Share your requirements for a quick response!
Instant response in 15 minutes
Best wholesale prices guaranteed
Direct from manufacturer
Delivery & Payment
Shipping Terms
Delivery Time
Sea freight: 30-60 days (depending on destination)
Air freight: 14-21 days (for urgent orders)
Payment Methods
Similar Products You May Be Interested In

Corrosion-Resistant Safety Valve DN 6 PN 250 GKLI.494141.002
View Details
Spring Safety Valve for Equipment and Pipelines KО.7607.000
View Details
Safety Valve Series 7s-6-3 for Steam Systems
View Details
Safety Valve KSA53016 for Pressure Protection in Nuclear Systems
View Details
Safety Valve for Pressure Protection, PREGNAR, Type KPP, Series 495, DN10, PN25
View Details
Spring Safety Valves SPPK6 Series DN 25-300 PN 0.6-16.0 MPa
View Details
Safety Relief Valves SPPC6, SPPC6R, SPPC6S, SPPC6RS DN 25-200 PN 1.6-10.0 MPa
View Details
Direct-Acting Safety Valve 15с-1-1
View Details
Main Safety Valve for Steam Generators K.1203-000.00-30
View Details
Safety Relief Valve 8C-3-2 Pulsed
View Details
Pressure Relief Valves GPM-KP for Non-Aggressive Gases
View Details
3900 Series Safety Valves DN25-300 PN 10-400 kgf/cm²
View DetailsVerified Suppliers
All products are sourced directly from authorized Russian manufacturers
Quality Assurance
Products meet international quality standards with proper certification
Global Shipping
Reliable logistics solutions to deliver products to your location
Secure Payments
Multiple secure payment options to facilitate international transactions