
Combined Guide for Self-Tapping Screws - Precision Hole Formation
Bulk pricing available
FOB, CIF & EXW terms available
Description
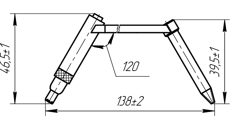
Application: forming a hole for the insertion of a lockable self-tapping screw. Made of corrosion-resistant stainless steel. The distal end has a smooth tapered part for RS holes.
The proximal end has a handle for holding and manipulating the guide, or it can be held by another device (e.g. fixed in an orthopaedic holder). Corresponds to the size of the drill bit.
Graduated marks along the entire length. Drill diameter marking on the sleeve. Individual packaging.
Reusable.
Specifications
Share your requirements for a quick response!
Delivery & Payment
Shipping Terms
Delivery Time
Payment Methods
Similar Products You May Be Interested In

Gynecological Speculum for Vaginal Examination and Inspection
View Details
Total Hip Prosthesis Component Installation Tool #15, Art. 105.162
View Details
Straight Two-Pronged Uterine Forceps 240mm TSH-04-051-24
View Details
Medical Extension Tube Disposable 1.5x2500 mm, Type 2 (Luer-Lock Male & Luer-Lock Female)
View Details
Small Open Clamp 4/4, Article 390.082
View Details
D2 Type Cytology Brush with Non-Traumatic Ball
View Details
Arterial Clamp - Model 14.0224.16
View Details
Upper Guide for Intramedullary Osteosynthesis, Article 520.354
View Details
Drill Guide for 4.5 mm, Article 304.045
View Details
Cannulated Drill 10.5 mm, Article 501.510
View Details
Bone Punch Tool for Plate Blade Preparation, Model 29.26.12
View Details
Surgical Grooved Probe, Length 180 mm
View DetailsVerified Suppliers
All products are sourced directly from authorized Russian manufacturers
Quality Assurance
Products meet international quality standards with proper certification
Global Shipping
Reliable logistics solutions to deliver products to your location
Secure Payments
Multiple secure payment options to facilitate international transactions