
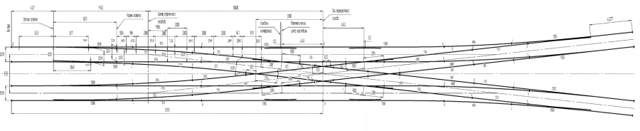
R50 Cross Turnout Type 2/9 for Metro Applications - 1520 mm Gauge
Bulk pricing available
FOB, CIF & EXW terms available
Description
Designed for operation in metro metropolitan areas of urban transport. It consists of a blind crossing and four arrows. Rails of arrows are processed by HFC. Design features: exit: execution with two left and two right arrows, crutch and terminal fastening; arrows: rotary shank, liner and overlay root fastening; crossbars: blunt mark 2/9 - solid cast of high-manganese steel with inset endings of the front and rear outreach; sharp mark 2/9 - prefabricated with rail usoviki and cast core of high-manganese steel with moulded inset endings of the rear outreach; sharp mark 1/9 - prefabricated with rail whiskers and cast core of high-manganese steel with moulded liner end of the rear extension; counter-rail made of angle SP850.
Specifications
Share your requirements for a quick response!
Delivery & Payment
Shipping Terms
Delivery Time
Payment Methods
Similar Products You May Be Interested In

Crosspiece Type P50 Mark 2/9 Project 2099.M4.000
View Details
Cross Rail with Counter Rail for Switch Project N01.003.4000.00-02
View Details
R65 Type Cross Joint 1/9 Project 1580.02.000
View Details
Cross Switch Type R65 Model 2/9 Project 2999.00.000
View Details
R65 Type Rail with Spike, Model 1/11 (Project 2768.11.000-24/-25; 2768.12.000-24/-25)
View Details
Curved Rail with Straight Switch for Project N01.011.6000.00
View Details
Crosspiece Type R50 Model 2/9 (Project SP516-01)
View Details
Rigid Rail with Frog Type R65 Model 1/6 (Project 2307.01.010-04/05)
View Details
Single Track Switch Type R65 Mark 1/11 for High-Speed Rail
View Details
Rigid Rail with Spike Type R65 (MSZ.8414.01.000RK/-01; MSZ.8414.02.000RK/-01)
View Details
Cross Rail with Counter Rail for Switch Project N02.01.8000.00
View Details
Curved Frame Rail Type R65 with Straight Point Project 2766.32.000
View DetailsVerified Suppliers
All products are sourced directly from authorized Russian manufacturers
Quality Assurance
Products meet international quality standards with proper certification
Global Shipping
Reliable logistics solutions to deliver products to your location
Secure Payments
Multiple secure payment options to facilitate international transactions