
Crosspiece for Railway Switches Type R65 Mark 1/5 - Essential Component for Rail Crossings
Manufacturer:
MSZ OJSC
Price:
Request Quote
Bulk pricing available
FOB, CIF & EXW terms available
Description
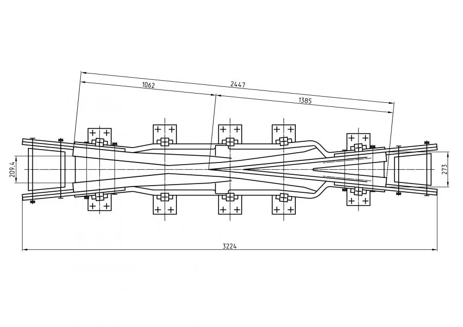
Crossbar is an element of a railway switch intended for crossing of two railway lines of different directions. The crossbar is solid-cast.
Specifications
Type of product according to PP RF 616
Blind crossings, crossing ramps, crossings, crossings, broad gauge railroad ties
Type
?65
Cross type by angle
Spicy
Share your requirements for a quick response!
Instant response in 15 minutes
Best wholesale prices guaranteed
Direct from manufacturer
Delivery & Payment
Shipping Terms
Delivery Time
Sea freight: 30-60 days (depending on destination)
Air freight: 14-21 days (for urgent orders)
Payment Methods
Similar Products You May Be Interested In

Cross turnout type R50 model 2/9 for metro gauge 1520 mm with a 4.0 m track spacing for project 2099.00.000-06
View Details
Straight Rail Frame with Curved Spike for Project 2870.01.000
View Details
Rigid Rail with Frog Type R65 Model 1/6 (Project 2307.01.010-04/05)
View Details
Cross Joint Sharp Type R50 Model 2/9 with Non-working Core NM4.01.200
View Details
Cross Joint Type R50 Model 1/9 (Project 2743.13.000)
View Details
R65 Type Cross Joint with Flexible Rotating Core - Model 1/11
View Details
Rigid Rail with Spike Type R65 (MSZ.8414.01.000RK/-01; MSZ.8414.02.000RK/-01)
View Details
R65 Type 2/11 Crosspiece for Switches - Model 1683.01.000
View Details
Single Switch Type R65 Model 1/11 for Concrete Beams Project 2799.00.000-12
View Details
R65 Type Crosspiece Mark 1/9 Project 2766.03.000
View Details
Frame Rail with Spike for Project 2307.01.010-09
View Details
Straight Frame Rail with Curved Spike for Project 2768.01.000RK2
View DetailsVerified Suppliers
All products are sourced directly from authorized Russian manufacturers
Quality Assurance
Products meet international quality standards with proper certification
Global Shipping
Reliable logistics solutions to deliver products to your location
Secure Payments
Multiple secure payment options to facilitate international transactions